Охладитель О111 для штыревых диодов, тиристоров
Охладители О111-60 применяются для одностороннего охлаждения силовых диодов, тиристоров, симисторов штыревого исполнения с типом корпуса SD1, ST1 (диаметр резьбы М5). Рассеиваемая мощность охладителя при естественном охлаждении составляет 10 Вт.
Охлаждение потоком воздуха может быть естественное или принудительное в зависимости от количества выделяемого тепла и условий работы полупроводников.
Примечание. Токоотводы не входят в комплект поставки. О возможности поставки токоотвоодов необходимо запрашивать дополнительно.
Полупроводниковые приборы монтируются в охладители с помощью резьбового соединения.
Для достижения минимальных электрических потерь и максимального отвода тепла приборов необходимо соблюдать соответствующий закручивающий момент Md, указанный в характеристиках силового прибора.
Контактные поверхности охладителя и силового прибора должны иметь низкие показатели шероховатости и отклонения плоскостности. Перед монтажом контактные поверхности охладителя, токоотвода и силового прибора необходимо протереть бязью, смоченной спиртом (толуолом, бензином, ацетоном) и рекомендуется смазывать тонким слоем кремнийорганической теплопроводной пасты КПТ-8.
Теплоотводы охладителя изготавливаются из алюминиевых радиаторных профилей и не требуют дополнительного защитного покрытия при эксплуатации в различных климатических условиях.
Технические характеристики, габаритные и присоединительные размеры охладителей для штыревых полупроводниковых приборов указаны в таблице ниже.
Окончательная цена на охладители О111 зависит от количества, сроков поставки, производителя, страны происхождения и формы оплаты.
Конструктивные и тепловые параметры охладителей О111-60:
| Серия | О111 (О111-60, ОА055*) | ||
| Диаметр резьбы | М5 | ||
| Для типа корпуса | SD1, ST1 | ||
| Применение | Д112, ДЛ112, Т112, ТС112 | ||
| Рассеиваемая мощность при естественном охлаждении | 10 Вт | ||
| Тепловое сопротивление при естественном охлаждении | 5,6 °C/Вт | ||
| Тепловое сопротивление при принудительном охлаждении (скорость воздуха 6 м/с) | - | ||
| Перепад давления | - | ||
| Крутящий момент не более | 2,0 Нм | ||
| Габаритные размеры | 35×60×40 мм | ||
| Масса | 0,092 кг | ||
*Примечание: прежнее обозначение охладителей.
Габаритные и установочные размеры охладителей О111-60:
Расшифровка обозначений маркировки О111-60 УХЛ2:
| О | 1 | 1 | 1 | - | 60 | - | УХЛ2 |
| О | – | Охладитель воздушный. |
| 1 | – | Порядковый номер модификации конструкции воздушного охладителя. |
| 1 | – | Обозначение модификации для штыревых охладителей по диаметру отверстия под монтажный винт. |
| 1 | – | Порядковый номер модификации конструкции охладителя для приборов: 1 – штыревого исполнения. |
| 60 | – | Длина охладителя, мм. |
| УХЛ2 | – | Климатическое исполнение: УХЛ2 - для умеренного и холодного климата. |
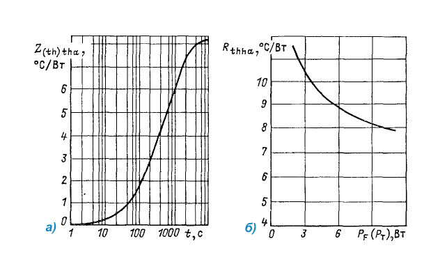
Графики температурных параметров охладителей О111:
а) — переходное тепловое сопротивление контактная поверхность охладителя - охлаждающая среда при естественном охлаждении и рассеиваемой мощности 9,1 Вт |
Фото охладителей О111-60 для штыревых полупроводниковых приборов:
Примечание. Токоотводы не входят в комплект поставки. О возможности поставки токоотвоодов необходимо запрашивать дополнительно.
Рекомендуем посмотреть:



















Комментарии к продукции, отзывы: