Резьбовой предохранитель ПРС и вставка плавкая ПВД
Предохранитель ПРС – предохранитель резьбовой на собственном изоляционном основании. Выпускаются для применения в сетях до 380В переменного тока частотой 50Гц или 60Гц. Основания предохранителя рассчитаны на 6,3А, 10А, 25А, 63А и 100А. Плавкая вставка диацед ПВД ("Diazed" с немецкого – пробочный предохранитель) изготавливается номиналами от 1А до 100А в зависимости от габаритной серии I, II, III, IV.
Используются предохранители в малогабаритных устройствах распределения электроэнергии для ограничения воздействий перегрузки или короткого замыкания. Отключающая способность достигает 60кА.
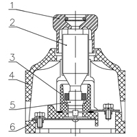
Конструктивно предохранители ПРС состоят из корпуса (3), неразборной плавкой вставки ПВД (2), съемной головки (1), изоляционного основания (6), крышки (4) и центрального контакта (5). Устройство зажимов для присоединения проводников – переднее.
Вставка ПВД фиксируется торцевыми контактными колпачками в фарфоровом цилиндре, наполненном кварцевым песком. Плавкий элемент выполнен в виде нескольких посеребренных медных проволок.
Указателем срабатывания предохранителя ПРС является механизм, состоящий из пружины, освобождение которой сопровождается выбрасыванием цветного глазка в застекленное отверстие корпуса. Визуально по расположению глазка можно определить состояние самого предохранителя. Цвету глазка соответствует определенный номинальный ток.
Перезарядка осуществляется заменой цилиндра со сгоревшей вставкой и сигнализирующим механизмом.
Подробные характеристики, габаритные, установочные размеры оснований и плавких вставок значатся в таблицах. Расшифровка маркировки и конструкция предохранителей ПРС приведены ниже.
Гарантия работы предохранителей ПРС и плавких вставок ПВД, поставляемых нашим предприятием, составляет 2 года. Это подкрепляется соответствующими документами качества.
Окончательная цена на предохранитель ПРС или вставку ПВД зависит от количества, сроков поставки, производителя, страны происхождения и формы оплаты.
| Предохранители резьбовые ПРС | ||||||
| Номинальный ток | 6,3А; 10А; 25А; 63А; 100А | |||||
| Номинальное напряжение | 380 В перем. тока | |||||
| Сопротивление изоляции, не менее | 3 МОм | |||||
| Фото | Серия предохранителя и плавкой вставки |
Цена | Номинальный ток | Масса | Чертеж, размеры |
|
| предохранителя | плавкой вставки | |||||
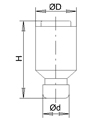
![]() ПРС-6 |
ПРС-6 + ПВД-I-1А | по запросу | 6,3 А | 1 А | 0,14 кг |
![]() 63×35×72 мм |
| ПРС-6 + ПВД-I-2А | по запросу | 2 А | ||||
| ПРС-6 + ПВД-I-4А | по запросу | 4 А | ||||
| ПРС-6 + ПВД-I-6,3А | по запросу | 6,3 А | ||||
![]() ПРС-10 |
ПРС-10 + ПВД-I-1А | по запросу | 10 А | 1 А | 0,14 кг |
![]() 63×35×72 мм |
| ПРС-10 + ПВД-I-2А | по запросу | 2 А | ||||
| ПРС-10 + ПВД-I-4А | по запросу | 4 А | ||||
| ПРС-10 + ПВД-I-6,3А | по запросу | 6,3 А | ||||
| ПРС-10 + ПВД-I-10А | по запросу | 10 А | ||||
![]() ПРС-25 |
ПРС-25 + ПВД-II-4А | по запросу | 25 А | 4 А | 0,25 кг |
![]() 82×49×92 мм |
| ПРС-25 + ПВД-II-6,3А | по запросу | 6,3 А | ||||
| ПРС-25 + ПВД-II-10А | по запросу | 10 А | ||||
| ПРС-25 + ПВД-II-16А | по запросу | 16 А | ||||
| ПРС-25 + ПВД-II-20А | по запросу | 20 А | ||||
| ПРС-25 + ПВД-II-25А | по запросу | 25 А | ||||
![]() ПРС-63 |
ПРС-63 + ПВД-III-25А | по запросу | 63 А | 25 А | 0,40 кг |
![]() 100×58×92 мм |
| ПРС-63 + ПВД-III-40А | по запросу | 40 А | ||||
| ПРС-63 + ПВД-III-63А | по запросу | 63 А | ||||
![]() ПРС-100 |
ПРС-100 + ПВД-IV-40А | по запросу | 100 А | 40 А | 1,60 кг |
![]() 140×82×126 мм |
| ПРС-100 + ПВД-IV-63А | по запросу | 63 А | ||||
| ПРС-100 + ПВД-IV-80А | по запросу | 80 А | ||||
| ПРС-100 + ПВД-IV-100А | по запросу | 100 А | ||||
Маркировка предохранителей резьбовых ПРС:
| ПРС | - | 100 |
| ПРС | – | Серия предохранителя: ПРС - предохранитель резьбовой на собственном изоляционном основании. |
| 100 | – | Номинальный ток основания предохранителя: 6,3А; 10А; 25А; 63А; 100А. |
Плавкие вставки ПВД к предохранителям ПРС:
| Плавкие вставки ПВД | ||||||
| Фото | Схема | Серия | Цена | Размеры H×D×d |
Масса | Применяемый предохранитель |
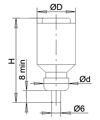
![]() ПВД-I |
![]() |
ПВД-I 1 А | по запросу | 34×17×14 мм | 14,6 г | ПРС-6, ПРС-10 |
| ПВД-I 2 А | по запросу | |||||
| ПВД-I 4 А | по запросу | |||||
| ПВД-I 6,3 А | по запросу | |||||
| ПВД-I 10 А | по запросу | |||||
![]() ПВД-II |
![]() |
ПВД-II 4 А | по запросу | 50×22×8 мм | 30 г | ПРС-25 |
| ПВД-II 6,3 А | по запросу | 50×22×8 мм | 30 г | |||
| ПВД-II 10 А | по запросу | 50×22×8 мм | 30 г | |||
| ПВД-II 16 А | по запросу | 50×22×10 мм | 32 г | |||
| ПВД-II 20 А | по запросу | 50×22×12 мм | 35 г | |||
| ПВД-II 25 А | по запросу | 50×22×13,9 мм | 34 г | |||
![]() ПВД-III |
![]() |
ПВД-III 25 А | по запросу | 50×27×14 мм | 53 г | ПРС-63 |
| ПВД-III 40 А | по запросу | 50×27×16 мм | 55 г | |||
| ПВД-III 63 А | по запросу | 50×27×21 мм | 57 г | |||
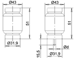
![]() ПВД-IV |
![]() |
ПВД-IV 40 А | по запросу | 51×43×31,9 мм | 160 г | ПРС-100 |
| ПВД-IV 63 А | по запросу | 51×43×5 мм | 170 г | |||
| ПВД-IV 80 А | по запросу | 51×43×6 мм | 170 г | |||
| ПВД-IV 100 А | по запросу | 51×43×7 мм | 170 г | |||
Маркировка плавких вставок ПВД:
| ПВД | - | IV |
| ПВД | – | Серия вставки: ПВД - плавкая вставка диацед. |
| IV | – | Условное обозначение габарита плавкой вставки:
|
Условные токи плавления и неплавления:
Предохранители резьбовые ПРС не должны отключать электрическую цепь при протекании условного тока неплавления и должны отключать электрическую цепь при протекании условного тока плавления в течение времени, указаного в таблицах ниже.
| Номинальный ток плавкой вставки | Отношение условного тока неплавления к номинальному | Отношение условного тока плавления к номинальному | Время |
| 1А | 1,3 | 4 | 1 ч |
| 2А; 4А | 1,5 | 2,1 | 1 ч |
| 6,3А; 10А | 1,5 | 1,9 | 1 ч |
| 16А; 20А; 25А | 1,4 | 1,75 | 1 ч |
| 40А; 63А | 1,3 | 1,6 | 1 ч |
| 80А; 100А | 1,3 | 1,6 | 2 ч |
| Номинальный ток плавкой вставки |
Условный ток неплавления | Условный ток плавления | Время |
| 1 А | 1,30 А | 4,00 А | 1 ч |
| 2 А | 3,00 А | 4,20 А | 1 ч |
| 4 А | 6,00 А | 8,40 А | 1 ч |
| 6,3 А | 9,45 А | 11,97 А | 1 ч |
| 10 А | 15,00 А | 19,00 А | 1 ч |
| 16 А | 22,40 А | 28,00 А | 1 ч |
| 20 А | 28,00 А | 35,00 А | 1 ч |
| 25 А | 35,00 А | 43,75 А | 1 ч |
| 40 А | 52,00 А | 64,00 А | 1 ч |
| 63 А | 81,90 А | 100,80 А | 1 ч |
| 80 А | 104,00 А | 128,00 А | 2 ч |
| 100 А | 130,00 А | 160,00 А | 2 ч |
Конструкция предохранителей резьбовых ПРС:
Рекомендуем посмотреть:






























Комментарии к продукции, отзывы: