Термопредохранители Termo fuse
Термопредохранители серий Termo fuse – это невосстанавливаемые тепловые устройство защиты, которые используются для предотвращения повреждений различных электрических и тепловых приборов, электромашинных инструментов и промышленного оборудования от перегрева. Термопредохранители рассчитаны на токи от 1А до 10А при напряжении 250В. Температура срабатывания колеблется от 66°С до 240°С.
Активным компонентом (термоэлементом) термопредохранителя является легкоплавкий сплав, окруженный поглощающим компаундом.
При нормальных рабочих температурах плавкий сплав проводит ток в обычном режиме. При достижении температуры срабатывания термоэлемент плавится и происходит полное отключение цепи.
Термопредохранители представлены в двух конструкциях – с аксиальными и радиальными выводами, что влияет на процесс установки устройств.
Термопредохранители серий Termo fuse DIP применяются в трансформаторном и вентиляционном оборудовании, двигателях малой мощности, конденсаторах и других нагревательных приборах.
Термопредохранители серий Termo fuse axial применяются в бытовых приборах (холодильниках, кондиционерах, стиральных машинах, фенах, утюгах, электроплитах и электрочайниках, нагревателях воды, телевизорах и т.д.), авиационном приборостроении, трансформаторах, конденсаторах и другом оборудовании.
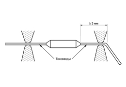
Детальные характеристики и размеры термопредохранителей Termo fuse значатся в таблицах. Расшифровка маркировки, конструктивные особенности аксиальных и радиальных термопредохранителей, рекомендации и примеры установки с помощью пайки или сварки приведены ниже.
Гарантия работы поставляемых нашим предприятием термопредохранителей составляет 2 года. Это подкрепляется соответствующими документами по качеству.
Окончательная цена на термопредохранители Termo fuse зависит от количества, сроков поставки, производителя, страны происхождения и формы оплаты.
*Примечание: температура выхода из строя термопредохранителя.
*Примечание: температура выхода из строя термопредохранителя.
Маркировка термопредохранителей Termo fuse axial:
| Termo fuse | 240 | axial |
| Termo fuse | – | Серия термопредохранителя. |
| 240 | – | Температура срабатывания, °C. |
| axial | – | Осевой тип размещения выводов. |
Маркировка термопредохранителей Termo fuse DIP:
| Termo fuse | 145 | DIP |
| Termo fuse | – | Серия термопредохранителя. |
| 145 | – | Температура срабатывания, °C. |
| DIP | – | Тип размещения выводов на плату. |
Конструкция термопредохранителей:
Методы и примеры установки термопредохранителей:
Рекомендуем посмотреть:






















Комментарии к продукции, отзывы: