Предохранители самовосстанавливающиеся
Самовосстанавливающийся предохранитель иными словами можно назвать предохранителем многоразового использования. Предохранитель являет собой полимерный резистор, имеющий положительный температурный коэффициент сопротивления. Используется для защиты от перегрузки цепей по току или одновременной защиты по напряжению и току в пределах от 3А до 100А и от 6В до 60В постоянного напряжения и от 250В до 600В переменного напряжения.
Самовосстанавливающиеся предохранители отличаются от традиционных конструкций отсутствием плавкой вставки и возможностью самовосстановления проводящих способностей после срабатывания и завершения воздействия побудителя.
Способность автоматического восстановления предохранителей сокращает время и расходы на обслуживание, ремонт электроустановки.
Возрастание проходящего тока или температуры окружающей среды, превышающих номинальные значения, приводят к увеличению сопротивления предохранителя в пределах от 0,0026Ом до 60Ом, плавлению кристаллических токопроводящих частиц и размыканию цепи впоследствии. Скорость срабатывания зависит от конкретной серии и длится в пределах от 0,15 с до 40,00 с.
После сброса цепи температура предохранителя понижается, восстанавливая первоначальные характеристики. Происходит самовосстановление. Следует отметить, что число срабатываний ограниченно. После каждого срабатывания характеристики ухудшаются.
Выбор соответствующего предохранителя необходимо осуществлять, обращая внимание на следующие характеристики: тип предохранителя (с радиальными, аксиальными выводами или для поверхностного монтажа в SMD исполнении), максимальный не приводящий к срабатыванию ток (рекомендуется выбирать со значением, превышающим ток цепи), максимальное рабочее напряжение и температура рабочей среды, влияющая на ток срабатывания.
Применяются представленные предохранители в компьютерном, телекоммуникационном и кроссовом оборудовании, медицинской измерительной аппаратуре, аккумуляторных батареях, автомобильном и другом электрооборудовании.
Детальные характеристики и основные параметры самовосстанавливающихся предохранителей значатся в таблицах. Расшифровка маркировки, зависимость тока, не приводящего к срабатыванию, от температуры окружающей среды, размеры, рекомендации монтажа и пайки приведены ниже.
Гарантия работы поставляемых нашим предприятием самовосстанавливающихся предохранителей составляет 2 года. Это подкрепляется надлежащими документами по качеству.
Окончательная цена на самовосстанавливающийся предохранитель зависит от количества, сроков поставки, производителя, страны происхождения и формы оплаты.
| IH | – | Максимальный ток, не приводящий к срабатыванию - максимальный ток, который может проводить через себя самовосстанавливающийся предохранитель без срабатывания. |
| IT | – | Минимальный ток срабатывания - минимальный ток через самовосстанавливающийся предохранитель, при котором происходит переход от проводящего состояния к непроводящему. |
| UMAX | – | Максимальное рабочее напряжение - максимальное напряжение, которое способен выдержать без разрушения самовосстанавливающийся предохранитель при протекании через него номинального тока. |
| IMAX | – | Максимально допустимый ток - максимальный ток короткого замыкания, который выдерживает самовосстанавливающийся предохранитель без разрушения при номинальном напряжении. |
| PD MAX | – | Максимальная мощность, рассеиваемая предохранителем - максимальная мощность, рассеиваемая предохранителем, после перехода от проводящего состояния к непроводящему. |
| RMIN | – | Минимальное сопротивление - минимальное сопротивление самовосстанавливающегося предохранителя в рабочем, проводящем состоянии. |
| R1 MAX | – | Максимальное сопротивление - максимальное сопротивление самовосстанавливающегося предохранителя спустя 1 час после последнего срабатывания. |
| Скорость срабатывания – время перехода от проводящего состояния к непроводящему при указаном токе. | ||
| IH, IT, PD MAX и скорость срабатывания зависят от температуры окружающей среды и представлены для t = 23°C. | ||
Маркировка предохранителей самовосстанавливающихся с радиальными выводами серии JK6:
| JK | 6 | - | 250 | (XXXXX) |
| JK | – | Серия самовосстанавливающегося предохранителя. |
| 6 | – | Максимальное рабочее напряжение: 6В, 16В. |
| 250 | – | Максимальный ток, не приводящий к срабатыванию, указано в hA. |
| (XXXXX) | – | Взаимозаменяемый предохранитель, серия. |
Зависимость тока (IH, А), не приводящего к срабатыванию, от температуры окружающей среды:
| Серия | Максимальная температура окружающей среды | ||||||||
| −40°C | −20°C | 0°C | 20°C | 40°C | 50°C | 60°C | 70°C | 85°C | |
| JK6-075 | 1,05 | 0,95 | 0,85 | 0,75 | 0,65 | 0,60 | 0,55 | 0,50 | 0,43 |
| JK6-090 | 1,31 | 1,17 | 1,04 | 0,90 | 0,75 | 0,69 | 0,61 | 0,55 | 0,47 |
| JK6-110 | 1,60 | 1,43 | 1,27 | 1,10 | 1,00 | 0,92 | 0,75 | 0,67 | 0,57 |
| JK6-120 | 1,69 | 1,52 | 1,36 | 1,20 | 1,04 | 0,96 | 0,88 | 0,80 | 0,68 |
| JK6-135 | 1,96 | 1,76 | 1,55 | 1,35 | 1,12 | 1,04 | 0,92 | 0,82 | 0,70 |
| JK6-155 | 2,17 | 1,96 | 1,75 | 1,55 | 1,34 | 1,24 | 1,14 | 1,03 | 0,88 |
| JK6-160 | 2,32 | 2,08 | 1,84 | 1,60 | 1,33 | 1,23 | 1,09 | 0,98 | 0,83 |
| JK6-185 | 2,68 | 2,41 | 2,13 | 1,85 | 1,54 | 1,42 | 1,26 | 1,13 | 0,96 |
| JK6-250 | 3,63 | 3,25 | 2,88 | 2,50 | 2,08 | 1,93 | 1,70 | 1,53 | 1,30 |
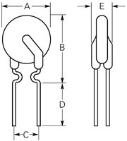
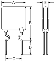
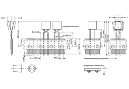
Размеры предохранителей самовосстанавливающихся с радиальными выводами серии JK6:
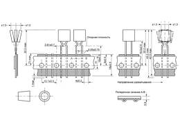
Монтаж предохранителей самовосстанавливающихся серии JK6 на ленту и катушку:
| IH | – | Максимальный ток, не приводящий к срабатыванию - максимальный ток, который может проводить через себя самовосстанавливающийся предохранитель без срабатывания. |
| IT | – | Минимальный ток срабатывания - минимальный ток через самовосстанавливающийся предохранитель, при котором происходит переход от проводящего состояния к непроводящему. |
| UMAX | – | Максимальное рабочее напряжение - максимальное напряжение, которое способен выдержать без разрушения самовосстанавливающийся предохранитель при протекании через него номинального тока. |
| IMAX | – | Максимально допустимый ток - максимальный ток короткого замыкания, который выдерживает самовосстанавливающийся предохранитель без разрушения при номинальном напряжении. |
| PD MAX | – | Максимальная мощность, рассеиваемая предохранителем - максимальная мощность, рассеиваемая предохранителем, после перехода от проводящего состояния к непроводящему. |
| RMIN | – | Минимальное сопротивление - минимальное сопротивление самовосстанавливающегося предохранителя в рабочем, проводящем состоянии. |
| R1 MAX | – | Максимальное сопротивление - максимальное сопротивление самовосстанавливающегося предохранителя спустя 1 час после последнего срабатывания. |
| Скорость срабатывания – время перехода от проводящего состояния к непроводящему при указаном токе. | ||
| IH, IT, PD MAX и скорость срабатывания зависят от температуры окружающей среды и представлены для t = 23°C. | ||
Маркировка предохранителей самовосстанавливающихся с радиальными выводами серии JK16:
| JK | 16 | - | 1400 | (XXXXX) |
| JK | – | Серия самовосстанавливающегося предохранителя. |
| 16 | – | Максимальное рабочее напряжение: 16В. |
| 1400 | – | Максимальный ток, не приводящий к срабатыванию, указано в hA. |
| (XXXXX) | – | Взаимозаменяемый предохранитель, серия. |
Зависимость тока (IH, А), не приводящего к срабатыванию, от температуры окружающей среды:
| Серия | Максимальная температура окружающей среды | ||||||||
| −40°C | −20°C | 0°C | 25°C | 40°C | 50°C | 60°C | 70°C | 85°C | |
| JK16-300 | 4,40 | 4,00 | 3,60 | 3,00 | 2,60 | 2,40 | 2,10 | 1,90 | 1,40 |
| JK16-400 | 5,90 | 5,30 | 4,80 | 4,00 | 3,50 | 3,20 | 2,80 | 2,50 | 1,90 |
| JK16-500 | 7,30 | 6,60 | 6,00 | 5,00 | 4,40 | 4,00 | 3,60 | 3,10 | 2,40 |
| JK16-600 | 8,80 | 8,00 | 7,20 | 6,00 | 5,20 | 4,80 | 4,20 | 3,80 | 2,80 |
| JK16-700 | 10,30 | 9,90 | 8,40 | 7,00 | 6,20 | 5,60 | 5,00 | 4,40 | 3,30 |
| JK16-900 | 13,20 | 11,90 | 10,70 | 9,00 | 7,90 | 7,20 | 6,40 | 5,60 | 4,20 |
| JK16-1000 | 14,70 | 13,30 | 12,00 | 10,00 | 8,70 | 8,00 | 7,00 | 6,30 | 4,70 |
| JK16-1100 | 16,10 | 14,60 | 13,10 | 11,00 | 9,70 | 8,80 | 7,80 | 6,90 | 5,20 |
| JK16-1200 | 17,60 | 16,00 | 14,40 | 12,00 | 10,40 | 9,60 | 8,40 | 7,60 | 5,60 |
| JK16-1400 | 20,50 | 18,70 | 16,80 | 14,00 | 12,10 | 11,20 | 9,80 | 8,90 | 6,50 |
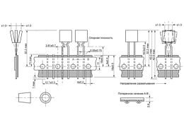
Размеры предохранителей самовосстанавливающихся с радиальными выводами серии JK16:
Монтаж предохранителей самовосстанавливающихся серии JK16 на ленту и катушку:
| IH | – | Максимальный ток, не приводящий к срабатыванию - максимальный ток, который может проводить через себя самовосстанавливающийся предохранитель без срабатывания. |
| IT | – | Минимальный ток срабатывания - минимальный ток через самовосстанавливающийся предохранитель, при котором происходит переход от проводящего состояния к непроводящему. |
| UMAX | – | Максимальное рабочее напряжение - максимальное напряжение, которое способен выдержать без разрушения самовосстанавливающийся предохранитель при протекании через него номинального тока. |
| IMAX | – | Максимально допустимый ток - максимальный ток короткого замыкания, который выдерживает самовосстанавливающийся предохранитель без разрушения при номинальном напряжении. |
| PD MAX | – | Максимальная мощность, рассеиваемая предохранителем - максимальная мощность, рассеиваемая предохранителем, после перехода от проводящего состояния к непроводящему. |
| RMIN | – | Минимальное сопротивление - минимальное сопротивление самовосстанавливающегося предохранителя в рабочем, проводящем состоянии. |
| R1 MAX | – | Максимальное сопротивление - максимальное сопротивление самовосстанавливающегося предохранителя спустя 1 час после последнего срабатывания. |
| Скорость срабатывания – время перехода от проводящего состояния к непроводящему при указаном токе. | ||
| IH, IT, PD MAX и скорость срабатывания зависят от температуры окружающей среды и представлены для t = 23°C. | ||
Маркировка предохранителей самовосстанавливающихся с радиальными выводами серии JK30:
| JK | 30 | - | 900 | (XXXXX) |
| JK | – | Серия самовосстанавливающегося предохранителя. |
| 30 | – | Максимальное рабочее напряжение: 30В. |
| 900 | – | Максимальный ток, не приводящий к срабатыванию, указано в hA. |
| (XXXXX) | – | Взаимозаменяемый предохранитель, серия. |
Зависимость тока (IH, А), не приводящего к срабатыванию, от температуры окружающей среды:
| Серия | Максимальная температура окружающей среды | ||||||||
| −40°C | −20°C | 0°C | 20°C | 40°C | 50°C | 60°C | 70°C | 85°C | |
| JK30-090 | 1,31 | 1,17 | 1,04 | 0,90 | 0,75 | 0,69 | 0,61 | 0,55 | 0,47 |
| JK30-110 | 1,60 | 1,43 | 1,27 | 1,10 | 0,91 | 0,85 | 0,75 | 0,67 | 0,57 |
| JK30-135 | 1,96 | 1,76 | 1,55 | 1,35 | 1,12 | 1,04 | 0,92 | 0,82 | 0,70 |
| JK30-160 | 2,32 | 2,08 | 1,84 | 1,60 | 1,33 | 1,23 | 1,09 | 0,98 | 0,83 |
| JK30-185 | 2,68 | 2,41 | 2,13 | 1,85 | 1,54 | 1,42 | 1,26 | 1,13 | 0,96 |
| JK30-200 | 2,90 | 2,60 | 2,30 | 2,00 | 1,66 | 1,54 | 1,36 | 1,22 | 1,04 |
| JK30-250 | 3,63 | 3,25 | 2,88 | 2,50 | 2,08 | 1,93 | 1,70 | 1,53 | 1,30 |
| JK30-300 | 4,35 | 3,90 | 3,45 | 3,00 | 2,49 | 2,31 | 2,04 | 1,83 | 1,56 |
| JK30-400 | 5,80 | 5,20 | 2,88 | 4,00 | 3,32 | 3,08 | 2,72 | 2,44 | 2,08 |
| JK30-500 | 7,25 | 6,50 | 5,75 | 5,00 | 4,15 | 3,85 | 3,40 | 3,05 | 2,60 |
| JK30-600 | 8,70 | 7,80 | 6,90 | 6,00 | 4,98 | 4,62 | 4,08 | 3,66 | 3,12 |
| JK30-700 | 10,15 | 9,10 | 8,05 | 7,00 | 5,81 | 5,39 | 4,76 | 4,27 | 3,64 |
| JK30-800 | 11,60 | 10,40 | 9,20 | 8,00 | 6,64 | 6,16 | 5,44 | 4,88 | 4,16 |
| JK30-900 | 13,05 | 11,70 | 10,35 | 9,00 | 8,47 | 6,93 | 6,12 | 5,49 | 4,68 |
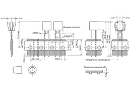
Размеры предохранителей самовосстанавливающихся с радиальными выводами серии JK30:
Монтаж предохранителей самовосстанавливающихся серии JK30 на ленту и катушку:
| IH | – | Максимальный ток, не приводящий к срабатыванию - максимальный ток, который может проводить через себя самовосстанавливающийся предохранитель без срабатывания. |
| IT | – | Минимальный ток срабатывания - минимальный ток через самовосстанавливающийся предохранитель, при котором происходит переход от проводящего состояния к непроводящему. |
| UMAX | – | Максимальное рабочее напряжение - максимальное напряжение, которое способен выдержать без разрушения самовосстанавливающийся предохранитель при протекании через него номинального тока. |
| IMAX | – | Максимально допустимый ток - максимальный ток короткого замыкания, который выдерживает самовосстанавливающийся предохранитель без разрушения при номинальном напряжении. |
| PD MAX | – | Максимальная мощность, рассеиваемая предохранителем - максимальная мощность, рассеиваемая предохранителем, после перехода от проводящего состояния к непроводящему. |
| RMIN | – | Минимальное сопротивление - минимальное сопротивление самовосстанавливающегося предохранителя в рабочем, проводящем состоянии. |
| R1 MAX | – | Максимальное сопротивление - максимальное сопротивление самовосстанавливающегося предохранителя спустя 1 час после последнего срабатывания. |
| Скорость срабатывания – время перехода от проводящего состояния к непроводящему при указаном токе. | ||
| IH, IT, PD MAX и скорость срабатывания зависят от температуры окружающей среды и представлены для t = 23°C. | ||
Маркировка предохранителей самовосстанавливающихся с радиальными выводами серии JK60:
| JK | – | Серия самовосстанавливающегося предохранителя. |
| 60 | – | Максимальное рабочее напряжение: 60В, 72В. |
| 500 | – | Максимальный ток, не приводящий к срабатыванию, указано в hA. |
| (XXXXX) | – | Взаимозаменяемый предохранитель, серия. |
Зависимость тока (IH, А), не приводящего к срабатыванию, от температуры окружающей среды:
| Серия | Максимальная температура окружающей среды | ||||||||
| −40°C | −20°C | 0°C | 20°C | 40°C | 50°C | 60°C | 70°C | 85°C | |
| JK60-005 | 0,078 | 0,068 | 0,06 | 0,05 | 0,04 | 0,035 | 0,032 | 0,027 | 0,02 |
| JK60-010 | 0,16 | 0,14 | 0,11 | 0,10 | 0,08 | 0,072 | 0,067 | 0,05 | 0,04 |
| JK60-017 | 0,26 | 0,23 | 0,21 | 0,17 | 0,14 | 0,12 | 0,11 | 0,09 | 0,07 |
| JK60-020 | 0,31 | 0,27 | 0,24 | 0,20 | 0,16 | 0,14 | 0,13 | 0,11 | 0,08 |
| JK60-025 | 0,39 | 0,34 | 0,30 | 0,25 | 0,20 | 0,18 | 0,16 | 0,14 | 0,10 |
| JK60-030 | 0,47 | 0,41 | 0,36 | 0,30 | 0,24 | 0,22 | 0,20 | 0,16 | 0,12 |
| JK60-040 | 0,62 | 0,54 | 0,48 | 0,40 | 0,32 | 0,29 | 0,25 | 0,22 | 0,16 |
| JK60-050 | 0,78 | 0,68 | 0,60 | 0,50 | 0,41 | 0,36 | 0,32 | 0,27 | 0,20 |
| JK60-065 | 1,01 | 0,88 | 0,77 | 0,65 | 0,53 | 0,47 | 0,41 | 0,35 | 0,26 |
| JK60-075 | 1,16 | 1,02 | 0,89 | 0,75 | 0,61 | 0,54 | 0,47 | 0,41 | 0,30 |
| JK60-090 | 1,40 | 1,22 | 1,07 | 0,90 | 0,73 | 0,65 | 0,57 | 0,49 | 0,36 |
| JK60-110 | 1,71 | 1,50 | 1,31 | 1,10 | 0,89 | 0,79 | 0,69 | 0,59 | 0,44 |
| JK60-135 | 2,09 | 1,84 | 1,61 | 1,35 | 1,09 | 0,97 | 0,85 | 0,73 | 0,54 |
| JK60-160 | 2,48 | 2,18 | 1,90 | 1,60 | 1,30 | 1,15 | 1,01 | 0,86 | 0,64 |
| JK60-185 | 2,87 | 2,52 | 2,20 | 1,85 | 1,50 | 1,33 | 1,17 | 1,00 | 0,74 |
| JK60-250 | 3,88 | 3,40 | 2,98 | 2,50 | 2,03 | 1,80 | 1,58 | 1,35 | 1,00 |
| JK60-300 | 4,65 | 4,08 | 3,57 | 3,00 | 2,43 | 2,16 | 1,89 | 1,62 | 1,20 |
| JK60-375 | 5,81 | 5,10 | 4,46 | 3,75 | 3,04 | 2,70 | 2,36 | 2,03 | 1,50 |
| JK60-500 | 7,25 | 6,50 | 5,75 | 5,00 | 4,15 | 3,85 | 3,40 | 3,05 | 2,60 |
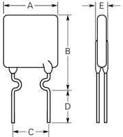
Размеры предохранителей самовосстанавливающихся с радиальными выводами серии JK60:
Монтаж предохранителей самовосстанавливающихся серии JK60 на ленту и катушку:
| IH | – | Максимальный ток, не приводящий к срабатыванию - максимальный ток, который может проводить через себя самовосстанавливающийся предохранитель без срабатывания. |
| IT | – | Минимальный ток срабатывания - минимальный ток через самовосстанавливающийся предохранитель, при котором происходит переход от проводящего состояния к непроводящему. |
| UMAX | – | Максимальное рабочее напряжение - максимальное напряжение, которое способен выдержать без разрушения самовосстанавливающийся предохранитель при протекании через него номинального тока. |
| IMAX | – | Максимально допустимый ток - максимальный ток короткого замыкания, который выдерживает самовосстанавливающийся предохранитель без разрушения при номинальном напряжении. |
| PD MAX | – | Максимальная мощность, рассеиваемая предохранителем - максимальная мощность, рассеиваемая предохранителем, после перехода от проводящего состояния к непроводящему. |
| RMIN | – | Минимальное сопротивление - минимальное сопротивление самовосстанавливающегося предохранителя в рабочем, проводящем состоянии. |
| R1 MAX | – | Максимальное сопротивление - максимальное сопротивление самовосстанавливающегося предохранителя спустя 1 час после последнего срабатывания. |
| Скорость срабатывания – время перехода от проводящего состояния к непроводящему при указаном токе. | ||
| IH, IT, PD MAX и скорость срабатывания зависят от температуры окружающей среды и представлены для t = 23°C. | ||
Маркировка предохранителей самовосстанавливающихся с радиальными выводами серии JK250, JK600:
| JK | 600 | - | 160 | U | (XXXXX) |
| JK | – | Серия самовосстанавливающегося предохранителя. |
| 600 | – | Максимальное рабочее напряжение: 250В, 600В. |
| 160 | – | Максимальный ток, не приводящий к срабатыванию, указано в кA. |
| U | – | Модификайция предохранителя: без покрытия. |
| (XXXXX) | – | Взаимозаменяемый предохранитель, серия. |
Зависимость тока (IH, А), не приводящего к срабатыванию, от температуры окружающей среды:
| Серия | Максимальная температура окружающей среды | ||||||||
| −40°C | −20°C | 0°C | 25°C | 40°C | 50°C | 60°C | 70°C | 85°C | |
| JK250-060U | 0,093 | 0,082 | 0,070 | 0,060 | 0,049 | 0,044 | 0,038 | 0,033 | 0,025 |
| JK250-080U | 0,124 | 0,110 | 0,095 | 0,080 | 0,066 | 0,058 | 0,051 | 0,044 | 0,033 |
| JK250-090U | 0,140 | 0,119 | 0,105 | 0,090 | 0,077 | 0,069 | 0,061 | 0,055 | 0,043 |
| JK250-110U | 0,171 | 0,145 | 0,129 | 0,110 | 0,094 | 0,085 | 0,075 | 0,067 | 0,053 |
| JK250-120U | 0,186 | 0,164 | 0,143 | 0,120 | 0,098 | 0,088 | 0,077 | 0,066 | 0,049 |
| JK250-145U | 0,230 | 0,191 | 0,170 | 0,145 | 0,123 | 0,112 | 0,099 | 0,088 | 0,070 |
| JK250-180U | 0,280 | 0,238 | 0,211 | 0,180 | 0,153 | 0,139 | 0,122 | 0,110 | 0,086 |
| JK250-200U | 0,310 | 0,274 | 0,238 | 0,200 | 0,164 | 0,146 | 0,128 | 0,110 | 0,082 |
| JK250-400U | 0,620 | 0,550 | 0,480 | 0,400 | 0,330 | 0,290 | 0,260 | 0,220 | 0,160 |
| JK250-600U | 0,930 | 0,820 | 0,710 | 0,600 | 0,490 | 0,440 | 0,380 | 0,330 | 0,250 |
| JK250-800U | 1,240 | 1,100 | 0,950 | 0,800 | 0,660 | 0,580 | 0,510 | 0,440 | 0,330 |
| JK600-150 | 0,233 | 0,206 | 0,178 | 0,150 | 0,124 | 0,110 | 0,096 | 0,083 | 0,062 |
| JK600-160 | 0,249 | 0,219 | 0,190 | 0,160 | 0,132 | 0,117 | 0,103 | 0,088 | 0,066 |
Размеры предохранителей самовосстанавливающихся с радиальными выводами серии JK250, JK600:
Монтаж предохранителей самовосстанавливающихся серии JK250 и JK600 на ленту и катушку:
| IH | – | Максимальный ток, не приводящий к срабатыванию - максимальный ток, который может проводить через себя самовосстанавливающийся предохранитель без срабатывания. |
| IT | – | Минимальный ток срабатывания - минимальный ток через самовосстанавливающийся предохранитель, при котором происходит переход от проводящего состояния к непроводящему. |
| UMAX | – | Максимальное рабочее напряжение - максимальное напряжение, которое способен выдержать без разрушения самовосстанавливающийся предохранитель при протекании через него номинального тока. |
| IMAX | – | Максимально допустимый ток - максимальный ток короткого замыкания, который выдерживает самовосстанавливающийся предохранитель без разрушения при номинальном напряжении. |
| PD MAX | – | Максимальная мощность, рассеиваемая предохранителем - максимальная мощность, рассеиваемая предохранителем, после перехода от проводящего состояния к непроводящему. |
| RMIN | – | Минимальное сопротивление - минимальное сопротивление самовосстанавливающегося предохранителя в рабочем, проводящем состоянии. |
| R1 MAX | – | Максимальное сопротивление - максимальное сопротивление самовосстанавливающегося предохранителя спустя 1 час после последнего срабатывания. |
| Скорость срабатывания – время перехода от проводящего состояния к непроводящему при указаном токе. | ||
| IH, IT, PD MAX и скорость срабатывания зависят от температуры окружающей среды и представлены для t = 23°C. | ||
Маркировка предохранителей самовосстанавливающихся с аксиальными выводами:
| JK-P | 550 | (XXXXX) |
| JK-P | – | Серия самовосстанавливающегося предохранителя. |
| 550 | – | Максимальный ток, не приводящий к срабатыванию, указано в hA. |
| (XXXXX) | – | Взаимозаменяемый предохранитель, серия. |
Зависимость тока (IH, А), не приводящего к срабатыванию, от температуры окружающей среды:
| Серия | Максимальная температура окружающей среды | ||||||||
| −40°C | −20°C | 0°C | 20°C | 40°C | 50°C | 60°C | 70°C | 85°C | |
| JK-P070 | 1,10 | 1,00 | 0,80 | 0,70 | 0,50 | 0,40 | 0,30 | 0,20 | 0,10 |
| JK-P100 | 1,80 | 1,60 | 1,40 | 1,00 | 0,80 | 0,70 | 0,60 | 0,40 | 0,20 |
| JK-P120 | 1,90 | 1,70 | 1,50 | 1,20 | 1,00 | 0,90 | 0,80 | 0,60 | 0,40 |
| JK-P175 | 2,50 | 2,20 | 2,00 | 1,75 | 1,40 | 1,30 | 1,20 | 1,00 | 0,80 |
| JK-P180 | 3,10 | 2,60 | 2,20 | 1,80 | 1,30 | 1,10 | 0,90 | 0,60 | 0,30 |
| JK-P190 | 3,30 | 2,80 | 2,40 | 1,90 | 1,40 | 1,20 | 1,10 | 0,70 | 0,40 |
| LR4-190 | 2,80 | 2,50 | 2,30 | 1,90 | 1,60 | 1,50 | 1,40 | 1,20 | 1,00 |
| JK-P200 | 3,10 | 2,80 | 2,50 | 2,00 | 1,70 | 1,50 | 1,40 | 1,20 | 0,90 |
| JK-P210 | 4,10 | 3,50 | 2,90 | 2,10 | 1,60 | 1,30 | 1,00 | 0,70 | 0,10 |
| JK-P260 | 4,30 | 3,70 | 3,10 | 2,60 | 1,90 | 1,60 | 1,40 | 1,10 | 0,60 |
| JK-P300 | 5,10 | 4,40 | 3,70 | 3,00 | 2,30 | 1,90 | 1,60 | 1,20 | 0,70 |
| JK-P350 | 5,30 | 4,80 | 4,30 | 3,50 | 3,00 | 2,70 | 2,50 | 2,10 | 1,70 |
| JK-P380 | 5,50 | 4,90 | 4,40 | 3,80 | 3,30 | 3,00 | 2,80 | 2,50 | 2,10 |
| JK-P420 | 6,30 | 5,70 | 5,10 | 4,20 | 3,60 | 3,30 | 3,00 | 2,60 | 2,10 |
| JK-P450 | 6,50 | 5,80 | 5,30 | 4,50 | 3,90 | 3,60 | 3,30 | 2,90 | 2,40 |
| JK-P550 | 7,60 | 6,90 | 6,20 | 5,50 | 4,70 | 4,30 | 4,00 | 3,60 | 3,00 |
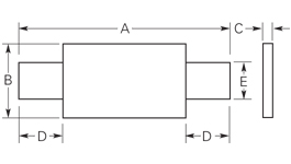
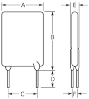
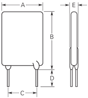
Размеры предохранителей самовосстанавливающихся с аксиальными выводами:
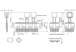
Размещение предохранителей самовосстанавливающихся с аксиальными выводами на ленте:
| IH | – | Максимальный ток, не приводящий к срабатыванию - максимальный ток, который может проводить через себя самовосстанавливающийся предохранитель без срабатывания. |
| IT | – | Минимальный ток срабатывания - минимальный ток через самовосстанавливающийся предохранитель, при котором происходит переход от проводящего состояния к непроводящему. |
| UMAX | – | Максимальное рабочее напряжение - максимальное напряжение, которое способен выдержать без разрушения самовосстанавливающийся предохранитель при протекании через него номинального тока. |
| IMAX | – | Максимально допустимый ток - максимальный ток короткого замыкания, который выдерживает самовосстанавливающийся предохранитель без разрушения при номинальном напряжении. |
| PD MAX | – | Максимальная мощность, рассеиваемая предохранителем - максимальная мощность, рассеиваемая предохранителем, после перехода от проводящего состояния к непроводящему. |
| RMIN | – | Минимальное сопротивление - минимальное сопротивление самовосстанавливающегося предохранителя в рабочем, проводящем состоянии. |
| R1 MAX | – | Максимальное сопротивление - максимальное сопротивление самовосстанавливающегося предохранителя спустя 1 час после последнего срабатывания. |
| Скорость срабатывания – время перехода от проводящего состояния к непроводящему при указаном токе. | ||
| IH, IT, PD MAX и скорость срабатывания зависят от температуры окружающей среды и представлены для t = 23°C. | ||
Маркировка предохранителей самовосстанавливающихся для поверхностного монтажа:
| JK-MSMD | 150 | (XXXXX) |
| JK-MSMD | – | Серия самовосстанавливающегося предохранителя. |
| 150 | – | Максимальный ток, не приводящий к срабатыванию, указано в hA. |
| (XXXXX) | – | Взаимозаменяемый предохранитель, серия. |
Зависимость тока (IH, А), не приводящего к срабатыванию, от температуры окружающей среды:
| Серия | Максимальная температура окружающей среды | ||||||||
| −40°C | −20°C | 0°C | 20°C | 40°C | 50°C | 60°C | 70°C | 85°C | |
| JK-MSMD050 | 0,59 | 0,57 | 0,55 | 0,50 | 0,45 | 0,43 | 0,35 | 0,30 | 0,23 |
| JK-MSMD075 | 1,10 | 0,99 | 0,87 | 0,75 | 0,63 | 0,57 | 0,49 | 0,45 | 0,35 |
| JK-MSMD110 | 1,60 | 1,45 | 1,28 | 1,10 | 0,92 | 0,83 | 0,71 | 0,66 | 0,52 |
| JK-MSMD150 | 2,30 | 2,05 | 1,77 | 1,50 | 1,23 | 1,09 | 0,95 | 0,82 | 0,61 |
Размеры предохранителей самовосстанавливающихся для поверхностного монтажа:
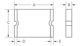
Рекомендации по пайке предохранителей самовосстанавливающихся для поверхностного монтажа:
Монтаж предохранителей самовосстанавливающихся на ленту и катушку:
Принцип работы предохранителей самовосстанавливающихся:
Рекомендуем посмотреть:






















































Комментарии к продукции, отзывы: